原标题:刚刚,完成更名!五年的风险化解落幕
来源:金融时报
一家企业名称的正式变更,揭开了一家信托公司风险处置的收官篇章,也看到了中国信托行业在深化改革上实实在在的进展。
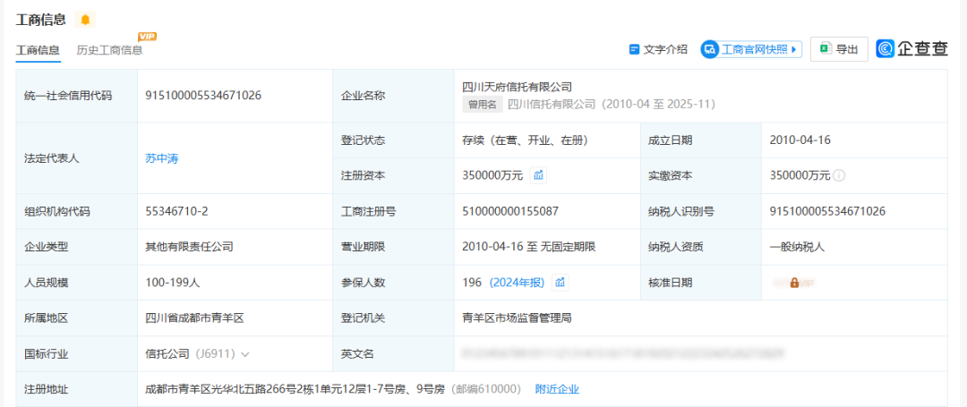
近日,由原中国银保监会批准、四川省工商行政管理局登记注册的四川信托有限公司(简称“四川信托”)已经完成更名。11月初,国家金融监督管理总局四川监管局对四川信托名称变更进行了批复,公司章程的修改同步核准。11月17日,企查查信息显示“四川信托有限公司”正式更名为“四川天府信托有限公司”(以下简称为“天府信托”)。

四川信托的风险处置
成立于2010年的四川信托,曾是信托行业蓬勃发展时期的重要参与者,在市场中占据一席之地。自从2020年部分产品出现逾期以来,四川信托一度成为市场关注的风险焦点,2021年3月四川信托因存在违规开展信托业务、承诺信托财产不受损失或保证最低收益等13项违规行为被处以3490万元的罚单。
在监管部门指导、地方政府统筹推进下,四川信托的风险处置工作从困境中起步,近两年逐步进入实质性推进阶段。
2023年12月,四川信托推出自然人投资者兑付方案,由四川国资背景的四川天府春晓企业管理有限公司折扣受让信托受益权。
2024年4月1日,国家金融监督管理总局四川监管局发布《关于同意四川信托有限公司破产的批复》同意四川信托依法进入破产程序,该批复发布后,四川信托在其公众号发布《关于四川信托有限公司风险处置进展的公告》称,将严格按照有关法律法规的要求加紧推进后续破产重整相关工作。
今年3月,法院裁定四川信托重整程序终结,风险处置工作正式完成,信托牌照得以保留。9月22日,国家金融监督管理总局公布相关批复称,同意四川信托变更96.8020%股权,其中蜀道投资集团持有58.6278%股权,四川信托正式成为国资背景的信托机构。
多家信托公司化解存量风险
四川信托并非第一家进入破产程序的信托公司。
新华信托作为一家1986年成立的持牌信托机构,业务曾遍及全国20余个省市。2022年6月,新华信托经原中国银保监会批复同意进入破产程序。重庆市第五中级人民法院于2022年7月6日裁定受理新华信托破产清算申请,并指定清算组为管理人。
除了进入破产程序的信托公司以外,多家陷入困境的信托公司通过不同路径实现“破局重生”。当前,业内多家信托公司通过重组或接管方式化解风险,比如安信信托、新时代信托等。
前身为包头市信托投资公司的新时代信托于2020年7月中旬被原银保监会宣布依法接管,自此新时代信托的风险处置持续推进;2021年发布重组方案的原安信信托现已更名为建元信托,其在2024年成绩斐然,完成存量压降总规模92亿元,涉及37个项目,顺利完成重大资产出售过户事项,助力自然人客户信托受益权转让工作,公司业绩实现同比增长,实现归母净利润0.53亿元,同比增长25%,管理的信托资产规模于2024年末达到2532亿元,较年初增长78%。
此外,记者注意到,今年8月,华信信托启动个人投资者受益权收购,大连安鼎企业管理有限公司于9月25日前收购符合资格的个人投资者的信托受益权。9月,华信信托发布《安鼎公司受让华信信托个人投资者信托受益权有关事项的公告》,截至2025年9月24日17时,已与安鼎公司签订信托受益权转让合同的个人投资者人数已达到3004人,整体签约率达到95.5%。
“这些成功案例充分说明,我国信托业已逐步构建起商业化股权重组、破产清算、司法重整等多元化风险处置体系。”用益信托研究员帅国让表示,这种多路径并行的处置模式,不仅为后续高风险机构化解风险提供了可复制、可推广的实践范本,更通过市场化、法治化手段厘清了行业发展边界,夯实了信托业回归“受人之托、代人理财”本源的制度基础,有效提振了市场信心。
2025年1月,国务院办公厅转发了金融监管总局《关于加强监管防范风险推动信托业高质量发展的若干意见》,明确“到2029年,信托业风险得到有效管控,业务转型有序推进,机构经营更加稳健,法律制度进一步健全,全过程监管持续加强,信托业高质量发展基础不断夯实”“到2035年,基本形成坚守定位、治理完善、经营稳健、服务专业、监管有效的信托业新格局。”
随着监管力度的加大,信托行业正逐步回归本源,规范业务发展。有市场分析认为,信托行业正处于改革化险的关键时期,必须统筹发展和安全,把防范化解风险摆在更加突出位置,做好信托重点领域风险化解,提升全面风险管理能力,牢牢守住不发生系统性金融风险的底线。



发表评论
2025-11-19 03:19:54回复
2025-11-19 03:08:51回复
2025-11-18 17:28:19回复
2025-11-19 00:33:59回复